Win10 Cloud专利曝光可漫游同步用户资料
作者:深度系统 文章来源:http://www.sdgho.com 发布时间:2017-04-17 15:03
谷歌Chrome Book的成功显示出云端设备的市场潜力巨大,看上这块市场的微软也开始按捺不住,在宣布5月2日教育主题硬件发布会后,日前微软一份有关漫游同步用户资料的专利被曝光,再次证明微软欲与谷歌Chrome Book竞争的野心。

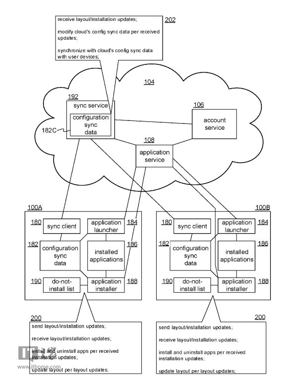
一直以来,谷歌Chrome Book都以其安全和易于管理的特性著称,并且登录一个账号就能瞬间同步该账号的所有应用和数据,这使得Chrome Book在教育市场非常火爆。近日,微软更新了一份2016年12月的专利,在该专利的应用安装和布局同步的功能的部分,微软提到了在Windows10 Cloud中,用户可以使用账户号密码或者Windows Hello的生物识别信息来登录任何Cloud设备,相应设备会在云端获取该用户信息,同步安装的应用和所有应用在开始界面的布局。

当然,微软在Windows 8的时代就已经为用户提供了微软账户这个功能,并且用户可以在登录自己的账号之后在设备上自动同步自己的用户信息和应用。看来这次的Windows 10 Cloud会在这个功能上再一次升级。一切都会在五月二号的硬件大会上揭晓,大家拭目以待。

